一、產品概述
LFEF(Ⅲ)型立窯 玻纖袋式除塵器是有關部門專門Φ3.2×10m、Φ2.9/3.0×10m、Φ2.2×8m、Φ2.2×8m、機立窯廢氣除塵開發研 制的新產品,榮獲1997年度部級科技進步獎,并被科委列入1997年度“新產品”,1993年高新技術項目,1994年度被有關部門列為實用技術。該機采用微機控制,分室反吹,定時、定阻清灰,溫度檢測顯示等措施,使玻纖袋除式塵器在機立窯廢氣除塵中能長期、穩定運行,煙囪出口排放濃 度低于規定的100mg/mn3排放標準可達(<50mg/mn3)。該設備可不停機分室換袋,操作簡單,運行可靠,運行費用低,是解決機立窯煙氣除塵的有效設備。
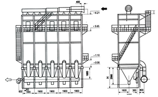
二、結構
該設備由含塵氣體入口至凈化煙氣出口,本體結構由進氣管路、進氣室、袋室、灰斗、排灰閥、出口管道及反吹風系統和清灰控制系統所組成。
除塵器本體為全鋼結構,并設計有防熱膨脹機構措施,外殼采用LBY型輕質巖棉板雙層保溫,外表用#=0.5鍍鋅板防護,并采用抽拉鉚釘新工藝安裝,花板用冷沖壓壓延滾壓成型工藝,即增加強度又_設備質量。
除塵器采用的是經RH配方處理的玻纖袋,其抗折性、強度及熱沖擊性能優良。
三、工作原理
?。?) 過濾:含塵煙氣經煙氣經煙道進入進氣管,由上站進入進氣室,部分粗粒由慣性而落入灰斗,其余部分煙氣粉塵進入濾袋,經內表面過濾后,進入袋室,然后經由通風槽、排氣閥、出氣管道由排風機排入大氣,該設備為上部進氣,負壓振作風濾式玻纖袋除塵器。
?。?) 清灰及自動控制: 除塵器進行一段時間后,濾袋內表面捕集的粉塵增厚,除塵器的運行阻力上升,當增加規定值后,這需要對濾袋進行清灰,即通過外力將濾袋內表面上附著的粉塵清理掉,使除塵器的運行陰力下降,陰力下降下規定值后,該室濾袋又投入正常運行。
整個清灰過程主要是通過反吹風來進行的,當阻力上升需要清灰時,微機指令關閉排氣閥,打開反吹風閥,將原來膨脹的濾袋在反吹風的作用下壓瘐變形,使其達 到清掉濾袋內表面附著粉塵的目的。清灰落入灰斗,經排灰閥進入絞刀排出,整個清灰過程是分室輪流進行的,不影響除塵器的正常工作。
定時清灰是按時間程序,各室根據可調時間參數自動進行輪流清灰,除塵器清灰周期可根據工藝要求設定調整。
除上述控制方法外,還設置有手動控制機構,可人工進行正常清灰。
四、溫度控制
立窯煙氣溫度一般在60-300℃ 范圍內波動,煙氣含濕量在4-12%范圍左右,為了防止除塵器的結露和糊袋以及溫度過高發生燒袋等惡性事故的發生,特采取如下措施;
?。ㄒ唬┐龎m器的進氣管道、本體、及灰斗要采取保溫措施,以防止除塵器結露
?。ǘ┰诔龎m器的進氣口、排氣口等處安裝有溫度檢測與自動報警裝置,廢氣一旦_除塵器的使用溫度范圍,則發出報警自動采取溫控措施,以確保除塵器穩定運行。
五、主要技術參數
| 參數\規格 | LFEF10×358 | LFEF9×358 | LFEF8×358 | LFEF7×358 | LFEF6×358 | LFEF5×358 | LFEF4×358 |
| 處理風量(m2/h) | 10700 | 96600 | 85000 | 75000 | 64000 | 53000 | 43000 |
| 過濾面積(m2) | 3580 | 3220 | 2864 | 2506 | 2148 | 1790 | 1432 |
| 單元數(室) | 10 | 9 | 8 | 7 | 6 | 5 | 4 |
| 濾條數(條) | 880 | 790 | 704 | 616 | 528 | 440 | 352 |
| 過濾風速(m/min) | <0.5 | <0.5 | <0.5 | <0.5 | <0.5 | <0.5 | <0.5 |
| 設備阻力(Pa) | <1570 | <1570 | <1570 | <1570 | <1570 | <1570 | <1570 |
| 處理溫度(℃) | 280 | 280 | 280 | 280 | 280 | 280 | 280 |
| 效率(%) | >99.8 | >99.8 | >99.8 | >99.8 | >99.8 | >99.8 | >99.8 |
| 配用窯型(m) | ф3.2×12 | ф3.2×10 | ф2.9/3.0×10 | ф2.5/2.8×10 | ф2.3×10/8.5 | ф2.2/2.0×8 |
四、基本結構圖

